Муфта фланцевая ПФРК RKU DOMEX DN 80

Цена по запросуPrice
Запросить цену

Производитель: DOMEX
Страна производства: Польша
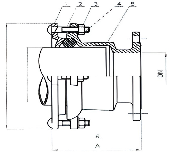
DN, мм: 80
Диаметр трубы (Dmin-Dmax), мм: 87-106
Высота А (мм): 177
Ширина В (мм): 196
Масса (кг): 7,9

Назначение

Муфта соединительная фланцевая ПФРК RKU DOMEX (фланец обжимной) применяется для соединения бесфланцевых чугунных, керамических, стальных труб, а также труб PCV с любой фланцевой арматурой.

Технические характеристики

  • Рабочее давление – 1,0 МПа.
  • Температура – 10-110°С.
  • Максимальное угловое отклонение – 4 градуса.
  • Рабочая среда – вода с различными неагрессивными примесями.

Устройство и материалы

Уплотнительная прокладка – резина NBR (по заказу EPDM). Покрытие – эпоксидная краска RAL 5015. По заказу шпильки, болты, гайки и шайбы могут выполняться из нержавеющей стали.

Устройство муфты RKU DOMEX

Поз. Составная часть Материал Норма
1 Крышка EN-GJS-500-7 (GGG50) PN-EN 1563:2000
2 Болт S235JR, гальванизированный ISO 8677
3 Гайка S235JR, гальванизированная PN-EN 24032
4 Уплотнительная прокладка Резина NBR или EPDM PN-92/C-01604.01
5 Корпуса EN-GJS-500-7 (GGG50) PN-EN 1563:2000
6 Шайба S235JR, гальванизированная ISO 7089
7 Крышка EN-GJS-500-7 (GGG50) PN-EN 1563:2000

Особенности монтажа

Муфты соединительные фланцевые ПФРК можно устанавливать на подземных или наземных трубопроводах, на вертикальных или горизонтальных установках. Во время монтажа необходимо обратить внимание, чтобы выполняемая установка не подвергала изделие изгибающим (более 4°) или растягивающим напряжениям, вытекающим из нагружения ее массой не зафиксированного трубопровода. Смонтированная и отрегулированная производителем муфта готова к монтажу в системе. Изделия не нуждаются в техническом обслуживании во время эксплуатации. При техническом обслуживании муфты после эксплуатации (при подготовке к повторному использованию) необходимо обязательно заменить резиновые уплотнения и при необходимости болты, гайки и шайбы.

Оплата производится с помощью безналичного расчета.

Доставка заказов осуществляется по всей России с помощью транспортных компаний: ТК «Возовоз» и «Деловые линии». Отправка посылки до терминала ТК – бесплатная.

Мы используем cookies с целью повышения удобства и эффективности работы пользователей.
Продолжая использовать сайт вы даете согласие на обработку ваших персональных данных.
OK
Купить в 1 клик
Запросить цену