Муфта фланцевая ПФРК RKS DOMEX DN 1000 ZL

Цена по запросуPrice
Запросить цену

Производитель: DOMEX
Страна производства: Польша
DN, мм: 1000
Серия: ZL
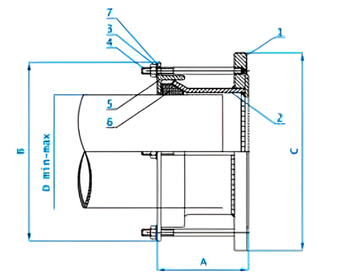
Диаметр трубы (Dmin-Dmax), мм: 1043-1058
Высота А (мм): 220
Ширина В (мм): 1160
Фланец C (мм): 1230
Масса (кг): 135

Назначение

Муфта соединительная фланцевая ПФРК RKS DOMEX (фланец обжимной) применяется для соединения чугунных, стальных, ПВХ, асбестоцементных, керамических труб с любой арматурой, имеющей фланец, водопроводных и газовых сетях.

Технические характеристики

  • Рnom (рабочее давление) – 1,0 МПа.
  • Т°C – 10-110°C.
  • Максимальное угловое отклонение – 4 градуса.
  • Рабочая среда – вода с различными неагрессивными примесями.

Устройство и материалы

Уплотнительная прокладка – резина NBR (по заказу EPDM). Покрытие – эпоксидная краска RAL 5015. По заказу шпильки, болты, гайки и шайбы могут выполняться из нержавеющей стали.

Устройство муфты RKS DOMEX

Поз. Составная часть Материал Норма
1 Фланец S235JR PN-88/H-84020
2 Корпус S235JR, гальванизированная PN-88/H-84020
3 Гайка М12 S235JR, гальванизированная PN-EN 24032
4 Шпилька М12 S235JR, гальванизированная PN-88/H-84020
5 Обруч S235JR PN-88/H-84020
6 Уплотнение Резина NBR ( EPDM) PN-92/C-01604.01
7 Шайба S235JR, гальванизированная ISO 7089

Условия хранения и транспортирования

Муфты соединительные фланцевые RKS следует хранить в крытых помещениях. При хранении, монтаже и эксплуатации необходимо оберегать их от механических повреждений (ударов и т.п.). Изделия следует транспортировать крытыми транспортными средствами

Техническое обслуживание

Муфты соединительные фланцевые ПФРК не нуждаются в техническом обслуживании во время эксплуатации. При техническом обслуживании изделия после эксплуатации (при подготовке к повторному использованию) необходимо обязательно заменить резиновые уплотнения и при необходимости болты, гайки и шайбы.

Гарантии изготовителя

Гарантийный срок 12 месяцев со дня продажи устанавливается при условии соблюдения потребителем требований, указанных в инструкции.

Оплата производится с помощью безналичного расчета.

Доставка заказов осуществляется по всей России с помощью транспортных компаний: ТК «Возовоз» и «Деловые линии». Отправка посылки до терминала ТК – бесплатная.

Мы используем cookies с целью повышения удобства и эффективности работы пользователей.
Продолжая использовать сайт вы даете согласие на обработку ваших персональных данных.
OK
Купить в 1 клик
Запросить цену